Солид, решетчатый настил, 2

Производство и продажа решетчатого
настила в Екатеринбурге и по России

Ваш город:
Солид, решетчатый настил, 3 Солид, решетчатый настил, 4 Солид, решетчатый настил, 5
Ваш город:

8 800 777-48-01
+7 (343) 384-56-90

Прием заявок

ПН-ПТ • 09:00 - 17:00
(по московскому времени)

8 800 777-48-01
+7 (343) 384-56-90

ПН-ПТ • 09:00 - 17:00
(по московскому времени)

Напишите нам! Прием заявок

Главная » Каталог продукции » РЕШЕТЧАТЫЙ НАСТИЛ » Способы крепления сварного настила SP и прессованного настила

Способы крепления сварного настила SP и прессованного настила

Способы крепления сварного настила SP и прессованного настила P
Стандартные крепления
Прижимная шайба и прижимная скоба
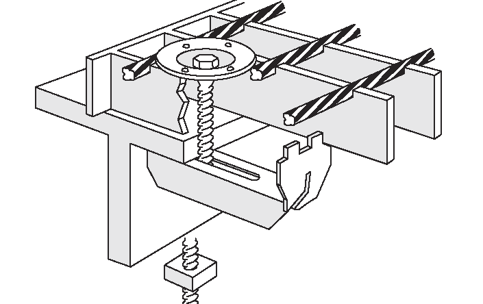
Универсальный скрепитель

Может поставляться с прижимной скобой или прижимной шайбой.

Стандартный скрепитель

Крепление настила с помощью «саморезов».

Нестандартные крепления поставляемые под заказ
Двойной зажим

Применяется для соединения настилов друг с другом.

Крепление прессованного настила 34*11.
Безопасный фиксаторМонтажный крюк малый
Крепление настила с помощью дюбелейМонтажный крюк большой